Life and Work of Rolf Wideröe by © Pedro Waloschek,     => Contents


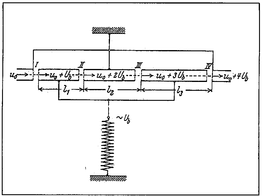
Fig. 3.5: The principle of the `drift-tube' as illustrated in Wideröe's thesis [Wi28].